FEATURES
● Supports up to 128x64 dot matrix panel
● Power supply:
- Low voltage power (VDD): 3.0 ~ 5.5V
- Core Logic power (VCC) 1.62V ~ 1.98V
- Segment power (VHA): 8.0V ~ 24V
- Common power (VHC): 8.0V ~ VHA
● Segment source current: 300µA (max.)
● Common sink current: 155mA (max.)
● 16/4/2 gray scale levels
● Gray Scale lookup table
● Embedded 128x64x4x2 bits SRAM
● 64-step output current adjustment
● Programmable frame rate
● Selectable MCU interface
- 8-bit 8080/6800-series parallel interface
- Serial interface
● On-chip oscillator
●Package Type-Bare Chip
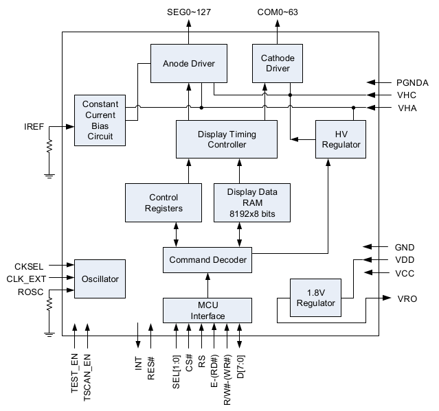
● Block Diagram
