FEATURES
● Supports max. 128 x 32 RGB dot matrix panel
● Supports max. 128 x 96 Mono dot matrix panel
● Power supply to logic system: 1.65V~3.6V
● Power supply to OLED system: 8.0V~18V
● Segment output typical current : 250µA;maximum current: 300µA
● Brightness control
● Program gamma table
● Programmable frame rate
● Crosstalk compensation
● Interface
- Parallel interface:8080-series command (8 bits) / data (8 bits)
- Serial interface:3wire SPI interface / 4 wire SPI interface / I2C interface
● Embedded 128x32x3x6 (128x32 RGB dots) SRAM for image buffer
● Package- COG
- Gold Bump dice
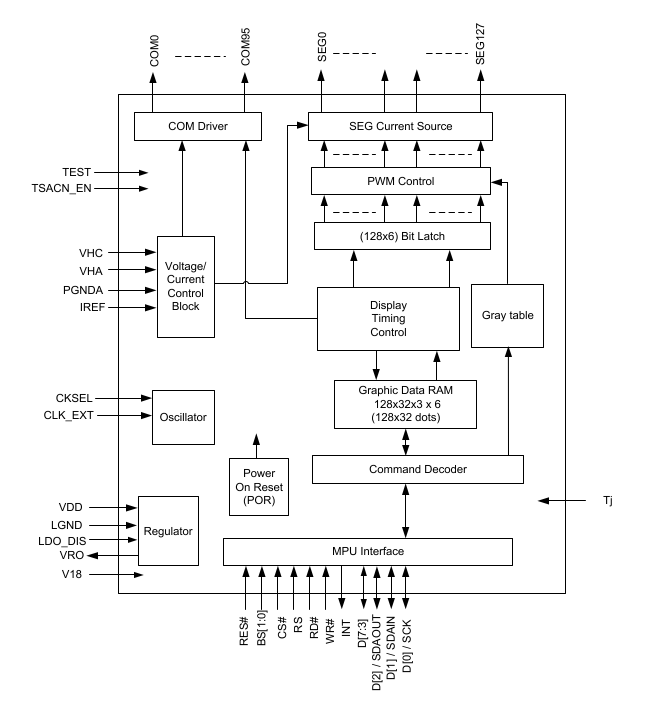
● Block Diagram
