FEATURES
● 64-gray scale source driver for active matrix TFT LCD panels
● Selectable 480/402 output channels
● Logic voltage power supply: 2.7V to 3.6V
● High voltage power supply: 7.0V to 13.5V
● Maximum RSDS operating frequency at 85 MHz
● Bi-directional shift right/left function
● Package Type -COG
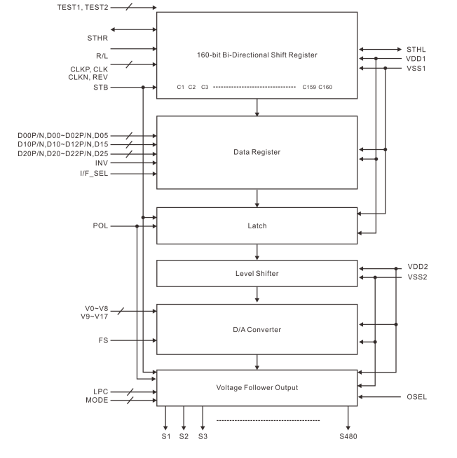
● Block Diagram
