FEATURES
● CMOS technology
● Up to 66 segments for 1/2 duty - 96 segments for 1/3 duty - 124 segments for 1/4 duty drive can be displayed
● 1/2 duty - 1/2 Bias
● 1/3 duty - 1/2 Bias and 1/3 duty - 1/3 Bias drive techniques
● 1/4 duty - 1/2 Bias and 1/4 duty - 1/3 Bias drive techniques
● Power saving mode and all segments OFF function
● Direct display of display data without using a decoder
● RC oscillation circuit
● Power supply voltage: 4.5V to 6V
● CMOS/TTL compatible logic input pins
● LCD drive bias voltage can be provided internally or externally
● On-Chip voltage detection type reset circuit
● 15 programmable PWM signal output pins
● AEC-Q100 Grade2 Compliant for Automotive Applications
● Package - LQFP64
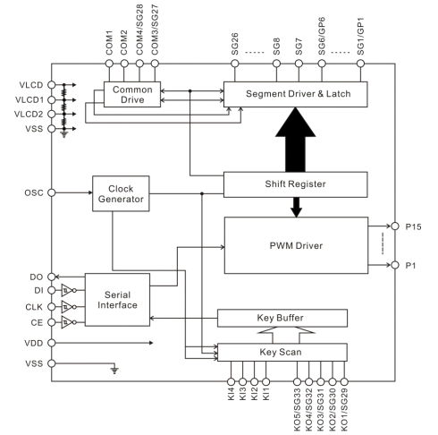
● Block Diagram
